emilspec
An Integrated Publishing, Inc. Site
eMilSpec
An Integrated Publishing Website
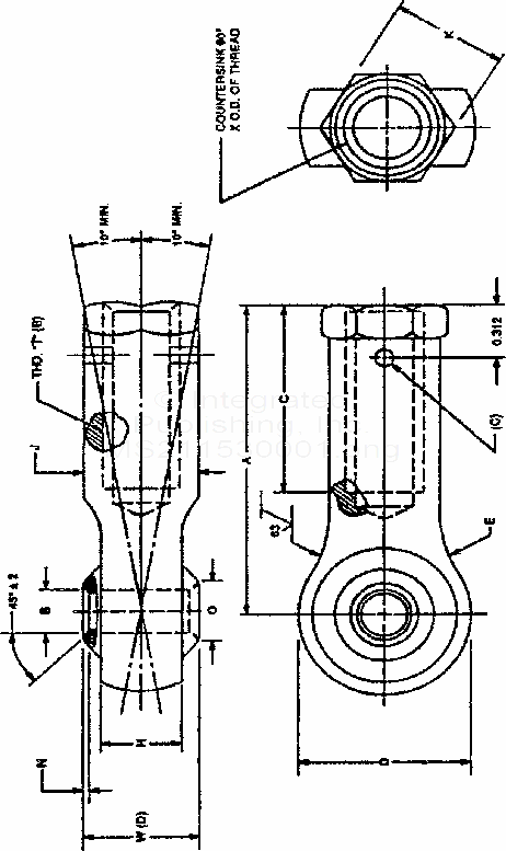
MS21153 Bearing, Ball, Rod End, Double Row, Precision, Internal Thread, Self-Aligning, Airframe, Type Iv, -65 Deg. F To 300 Deg. F (S/S By Sae-As21153)
For Parts Inquires submit RFQ to
Parts Hangar, Inc.
© Copyright 2015 Integrated Publishing, Inc.
A Service Disabled Veteran Owned Small Business